- Get link
- X
- Other Apps
- Get link
- X
- Other Apps
Audi Q7 Transmission Fluid Change Autosessive Blog
Oil Pressure Line For Gearbox Oil Cooling For 6 Audi Q7
Buy Mahler Gearbox Oil Filter Hx 120 Applies Passat Passat
Details About For Audi Q7 Tr 60sn 09d Automatic Transmission Gearbox Sump Filter 6l Oil Kit
Oil Pressure Line For Gearbox Oil Cooling For 6 Speed
Audi Q7 2016 2017 Gear Oil Cooler For 8 Speed
Audi Vw Multitronic Automatic Gearbox Oil Filter Change
Audi Vw Multitronic Automatic Gearbox Oil Filter Change
Gearbox Oil Change For Audi 8 Speed Tiptronic Quattro Models
Audi Q7 4l 6 Speed Automatic Transmission Leak Fix
Automatic Transmission Service Kit 0c8 8 Speed
Details About For Audi Q7 Porsche Cayenne Vw Touareg Automatic Transmission Oil Change
Q5 Transmission Fill And Drain Plug Location Audiworld Forums
Solved Fill Transmission Fluid On 19999 Audi A4 Fixya
Audi S4 S5 S6 S7 S Tronic Dsg Transmission Fluid Change
Q5 Transmission Fill And Drain Plug Location Audiworld Forums
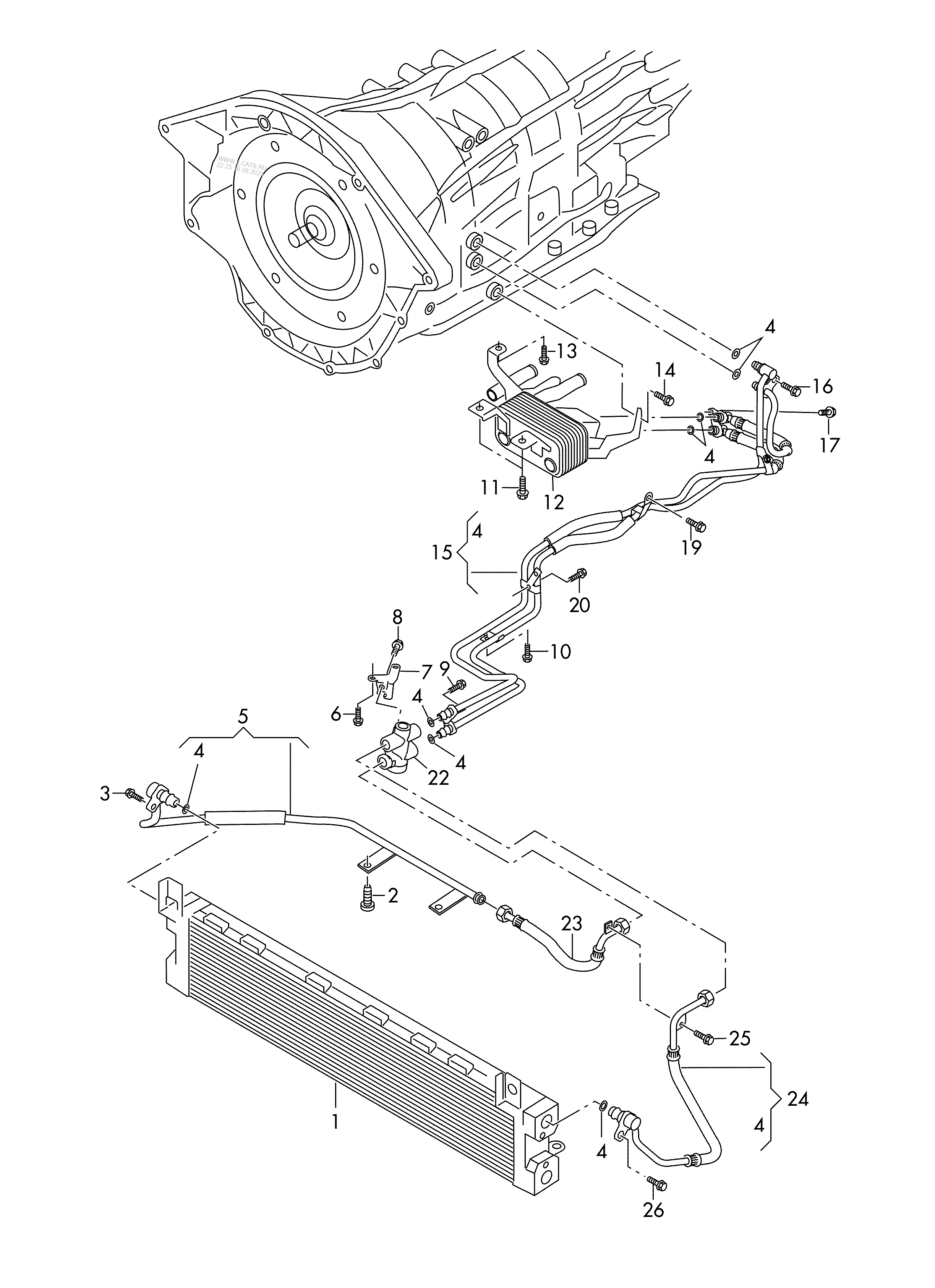
Audi Q7 Automatic Transmission Oil Coolers Components
Genuine Audi Automatic Gearbox Oil G052162a2
Vwvortex Com New Audi Q7 Automatic Transmission Fluid
Details About Audi Q7 4l Gearbox Oil Cooler 7p0317037 7p0121065m 2014 3 0 Diesel
Car Accessories Automatic A T Gearbox Oil Pan Seal Gasket
How To Change Audi Vw Transmission Fluid Aka Atf On 6 Speed 09g
Genuine 8 At Gearbox Oil Filter Inner For Audi Q7 Touareg 0c8325435
Audi A4 Multitronic Gearbox Oil Change The Business
Transmission Oil Filter Automatic Transmission Oil Filter
Gearbox Oil Change For Bmw 8 Speed Tiptronic Steptronic
086 1 Replacing The Partial Automatic Gearbox Oil Audi A6 Q7 Vw Touareg
Audi Q7 4l 3 0 Tdi Gearbox Oil Cooler Pipes Ebay
Audi A6 C7 A7 A8 D4 Gearbox Transmission Oil Cooler Solenoid
Audi Q7 Transmission Fluids Oils Additives Carid Com
Buy Vw Audi Dsg Transmission Fluid Direct Shift Gearbox
Shop Zf Zf 6 Speed Automatic Transmission Oil 6hp Gearbox
Details About Porsche Cayenne 6 Speed Automatic Transmission Gearbox Sump Pan Seal Filter Kit
Audi Transmission Ecu Adaption Reset Procedure
Vaico Automatic Transmission Oil Atf 8hp V60 0264 For
Audi Q7 Oil Change And Service Reset
Audi Q7 Engine Oil Capacity In Quarts Liters Engine Oil
Automatic Transmission Complete Service Kit Touareg Audi Q7 Tdi 09d325435 Idparts Com
Audi Q7 4l Gearbox Oil Pan 0c8321361 2759819
Vag Transmission Oil Filling Tool 09g Dsg Cvt 01j Oil Filler
Tr60sn Touareg Audi Q7 Porsche Cayenne Gearbox Oil Filter
Audi Q7 3 0 Tdi Gearbox Oil Control Module For Sale Boksburg Gumtree Classifieds South Africa 567071196
Audi A4l B8 New A6l C7 A5 S5 Cvt Stepless Gearbox Oil Gearbox Oil German Original
2013 Audi Q7 Gearbox Oil Pump Control Module Ecu 7p0927601
How To Do Oil Change Audi A3 2017
How Audi Q7 Tdi 3 0 Audi A6 Engine Oil Cooler Replace
Gearbox Oil Change For Bmw 6 Speed Tiptronic Steptronic
2007 Audi Q7 Audi A T Oil Cooler 7l0317821a 7l0317027a W
Automatic Transmission Fluid 8 Speed Atf Oem 7p 4l 2011 G055540a2 Idparts Com
Amazon Com Blau F2a1044 A Audi Q7 Atf Automatic
Audi Atfanaaudi Transmission Fluid
2013 Audi Q7 Gearbox Oil Pump Control Module Ecu 7p0927601
Oil Pressure Line For Gearbox Oil Cooling 8 Speed Automatic
Audi Q7 2016 2017 Oil Sump Converter Oil Strainer
Audi Q7 4l Gearbox Oil Pan 0c8321361 2759819
Oil Cooler Audi Q7 06m117015m 3 Gearbox 317 Gearbox
S Tronic Gearbox Oil Filter Change For Quattro Models 7
For Audi Q7 Vw Touareg 6sp Automatic Gearbox Gear Oil Cooler
Oil Pump For Bearing Height 187mm 34 80 Mm Automatic Transmission Aw Tr 60sn 09d 04 Up
Audi Q7 4m Gearbox Oil Pan 0d5398009 2883826
Audi Q7 Automatic Transmission Identification Codes Chart
Diy Gearbox Oil Change Vw Polo Team Bhp
2015 Audi Audi Q7 United States Market Gearbox Mechatronic
O1v Zf Tiptronic Transmission Fluid Filter Change W Motor Oil Change Audi A4
Check Oil Level 2007 2015 Audi Q7 2009 Audi Q7 Premium 3 6l V6
Audi Vw Seat Skoda Dsg S Tronic Transmission Oil Change
Dual Clutch Audi A4l A6l A8 Q3 Q5 Q7 Atf Eight 8 Speed Automatic Gearbox Oil Gearbox Oil
Pair Set 2 Oem Audi Q7 2007 Transmission Oil Cooler Line Hose Pipe 4l0317819b
Mister Auto Gearbox Oil Audi Q7 4m 3 0 Tdi 272hp
Solved I Need To Fill Up Transmission Oil On My Audi A4 Fixya
Audi Q5 Do Minor Services Change Gearbox Oil Transfer Case
2011 Audi Q7 Gets Three New V6s Eight Speed Transmission In
Gearbox Aisin Touareg 3 0 Audi Q7 3 0
Gearbox Oil Cooler Pope S Hose S
Automatic Transmission Service Kit 09d 6 Speed
Audi A4 B7 How To Change Manual Transmission Fluid Audiworld
Xdalys Lt 13r Audi Q7 Facelift 3 0 Tdi Cables Hose Box
Audi Q7 Automatic Transmission Oil Coolers Components
Oil Pump Automatic Transmission 0c8 Tr 80sd Used
Dual Clutch Audi A4l A6l A8 Q3 Q5 Q7 Atf Eight 8 Speed Automatic Gearbox Oil Gearbox Oil
Audi Q7 Questions What Problem Does A Audi Q7 Have Because
Audi Q5 Do Minor Services Change Gearbox Oil Transfer Case
Audi And Volkswagen Transmission Oil Cooler 7l0317021c Behr Hella Service 376726291 7l0 317 021 C
Vw Touareg Aisin Oem Atf 0t4 Automatic Transmission Gearbox Oil 7l Genuine Fluid
Gearbox Oil And Transmission Oil For Audi Q7 Transmission
Audi A6 C6 How To Change Manual Transmission Fluid Audiworld
Transmission Oil Cooler A6 C5 Allroad S4 B5
Gearbox Oil Cooler Pope S Hose S
Audi Q7 4m Gearbox Oil Pan 0d5398009 2883826
Details About Oem Cayenne Vw Touareg Audi Q7 Gearbox Oil Pump Control Module Ecu 7p0927601a
Solved I Need To Fill Up Transmission Oil On My Audi A4 Fixya
Gearbox Oil Change For Audi 8 Speed Tiptronic Quattro Models
Touareg Audi Q7 Transmission Filter Kit Oem 0c8325435 0c8321371 Idparts Com
Furitech Automotive Page 2 Of 11 Just Another Automotive
Meyle Oil Change Kits For Automatic Transmissions Audi
Audi Q7 4l Gearbox Oil Pan 0c8321361 2759819
How To Change The Gearbox Oil How To Do It Yourself Easily
audi q7 gearbox oil
audi q7 gearbox oil capacity
audi q7 gearbox oil change
audi q7 gearbox oil leak
- Get link
- X
- Other Apps

Comments
Post a Comment